时间:2010-10-10更新时间:2010-10-10
如果您想了解我们的产品,可以随时拨打我公司的销售热线或点击下方按钮在线咨询价格!
立即拨打电话享更多优惠:0371-67772626
水力分析(简称水析)是借测定颗粒的沉降速度间接测量颗粒粒度组成的方法。常用于小于0.1mm物料的粒度组成测定。常用水析法有三种:重力沉降法、上升水流法和离心沉降法。测定对象是小于0.1mm的物料。测定条件在自由沉降条件下进行,悬浮液的固体容积浓度小于3%,按斯托克斯沉降速度公式计算,即
![]()
式中 h———沉降距离,m;
t———沉降时间,s;
其他符号意义同前。
为了防止水析过程中固体颗粒团聚,通常加入水玻璃等分散剂,它们在水中的浓度是0.01%-0.2%。
(一)沉降水析法
沉降法中比较简单而又可靠的方法是淘析法,淘析法的基本原理是利用逐步缩短沉降时间的方法,由细到粗、逐步地将各粒级物料从试料中淘析出来。
淘析法水析装置也称萨巴宁沉降分析仪,如图1所示。淘析过程是在一个直径为70-100mm、高度为150-170mm的玻璃杯1中进行的。杯内装有一根直径约为6-10mm的虹吸管2。虹吸管的短管部分应插入杯内,使其管口下端距固体沉淀物料面留有5mm的距离。虹吸管另一端带有管夹3,插入到溢流收集槽4内。

图1
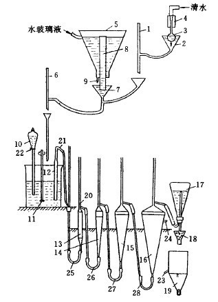
如图2所示为一组四管水析器。

图2
这种连续水析器一次可获得多级产品,操作简便,只要保持工作正常(及时放出管内气泡且不使矿粒堵塞胶管),所得结果就较为准确,但水析时间较长。